एआई रोबोटिक पेट: प्रौद्योगिकी-सक्षम, साथी को गर्म बनाना

2025-08-18 - Mag-iwan ako ng mensahe

Kapag hinahangaan mo ang masiglang mga imahe sa isang LCD screen, isang tila ordinaryong manipis na pelikula ay gumaganap ng isang kritikal, ngunit madalas na hindi nakikita, papel - ang polarizer. Ang sopistikadong optical na sangkap na ito ay kumikilos bilang isang tumpak na "gatekeeper," meticulously na kinokontrol ang pagpasok at paglabas ng ilaw, ginagawa itong kailangang -kailangan para sa teknolohiyang Liquid Crystal Display (LCD).


Ang bidirectional light gate

Ang mga LCD ay umaasa sa mga yunit ng backlight para sa pag -iilaw. Ang pangunahing pag -andar ng polarizer ay dalawang beses:

Pag -filter ng Input (ilalim na polarizer): Nag -convert ng magulong, hindi naka -unpolar na natural na ilaw mula sa backlight sa polarized light na may pantay na direksyon ng panginginig ng boses.

Output control (tuktok na polarizer): oriented karaniwang 90 degree na patayo sa ilalim na polarizer. Ang ilaw ay maaari lamang dumaan kung ang mga likidong molekula ng kristal ay matagumpay na paikutin ang direksyon ng polariseysyon upang tumugma sa "pass kondisyon" ng tuktok na polarizer, na lumilikha ng ilaw/madilim na mga pattern na bumubuo ng nakikitang imahe.

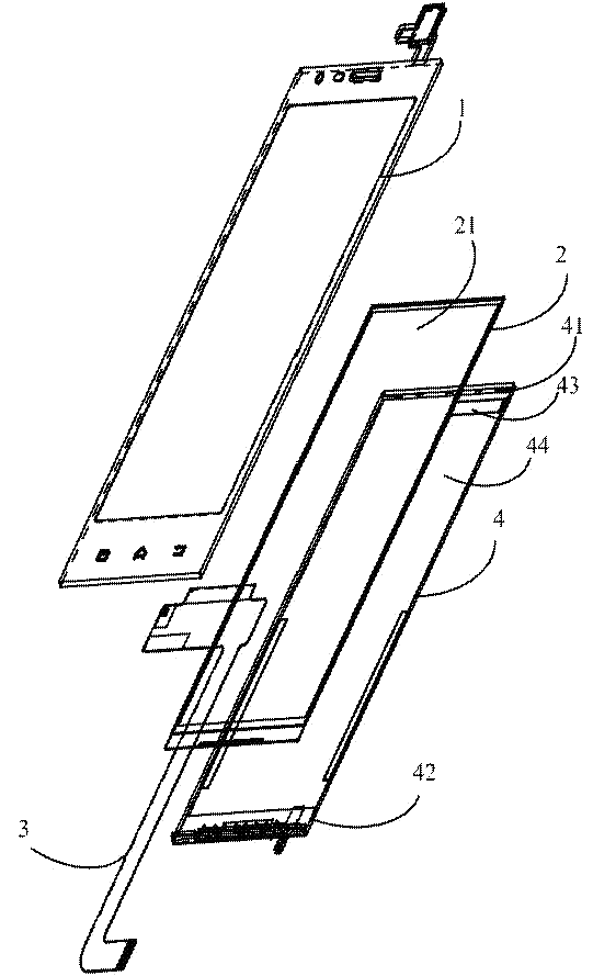
Ang katumpakan na limang-layer na "sandwich" na istraktura

Ang isang polarizer ay isang tumpak na engineered composite ng limang functional layer:

TAC Film (Traacetyl Cellulose - Top & Bottom Layer): kumikilos bilang isang "matatag na kalasag" at "optical compensator." Nagbibigay ng pisikal na proteksyon (gasgas, paglaban sa kahalumigmigan) at magbabayad para sa optical distorsyon dahil sa mababang optical retardation na pag -aari, tinitiyak ang kadalisayan ng kulay at kaunting pagbaluktot ng imahe.

PVA film (polyvinyl alkohol - core layer): ang "polarized light generator." Sa pamamagitan ng pag -uunat at pagtitina (yodo o dichroic), ang mga molekular na kadena nito ay nakahanay, na nagpapakita ng malakas na dichroism - sumisipsip ng mga ilaw na alon ng isang direksyon ng panginginig ng boses habang ipinapadala ang mga patayo na ito, mahusay na bumubuo ng polarized light. Ang pagganap nito ay tumutukoy sa kahusayan ng polarizer (degree sa polariseysyon) at pagpapadala.

Pressure Sensitive Adhesive (PSA): Ang "Invisible Bonding Agent." Ligtas at pantay na laminates ang pagpupulong ng polarizer papunta sa likidong kristal na salamin ng cells ng cell. Nangangailangan ng mataas na transparency, pangmatagalang katatagan, paglaban sa panahon, di-corrosiveness, at minimal na pagbuo ng bubble/depekto.

Paglabas ng Pelikula: Ang "Protektor ng Transportasyon." Shields ang layer ng PSA mula sa kontaminasyon at hindi sinasadyang pagdirikit sa panahon ng paggawa, pagpapadala, at imbakan. Ito ay peeled off at itinapon bago ang proseso ng paglalamina sa pabrika ng panel.

Patuloy na ebolusyon para sa mga kahilingan sa hinaharap

Ang pagtugis ng mas mataas na kalidad ng imahe (4K/8K, HDR), mas malawak na mga anggulo ng pagtingin, mas payat na mga profile, at kakayahang umangkop ay nagtutulak ng patuloy na pagbabago sa teknolohiya ng polarizer:

Mga profile ng manipis: Pag -ampon ng mas payat na TAC o mga alternatibong materyales tulad ng COP (cyclo olefin polymer) o mga pelikulang alagang hayop.

Pinahusay na Pagganap: Pag -optimize ng pagproseso ng PVA upang madagdagan ang transmittance at kaibahan na ratio.

Mas malawak na pagtingin sa mga anggulo: Pagsasama ng mga optical films ng kabayaran upang mabawasan ang likas na mga limitasyon ng anggulo ng LCD.

Flexibility: Pag -unlad ng Flexible Polarizer na katugma sa mga natitiklop na display at nababaluktot na OLED.


Tungkol sa CNK

Itinatag sa Shenzhen noong 2010, pinalawak ng CNK Electronics (CNK in Brief) ang mundo na nangungunang pabrika sa Longyan, Fujian noong 2019. Ito ay isang dalubhasa at makabagong negosyo na dalubhasa sa disenyo, pag -unlad, paggawa at pagbebenta ng mga produktong nagpapakita. Nagbibigay ang CNK ng mga customer ng isang buong hanay ng mga mabisang gastos na maliit at katamtamang laki ng mga module ng display, solusyon, at serbisyo na may mahusay na kalidad sa buong mundo. Ang oriented sa teknolohiya at mataas na kalidad, ang CNK ay nagpapanatili ng napapanatiling pag -unlad, gumagana upang mag -alok ng mga customer ng mas mahusay at matatag na serbisyo.


Magpadala ng Inquiry

X
Gumagamit kami ng cookies para mag-alok sa iyo ng mas magandang karanasan sa pagba-browse, pag-aralan ang trapiko sa site at i-personalize ang content. Sa paggamit ng site na ito, sumasang-ayon ka sa aming paggamit ng cookies. Patakaran sa Privacy
Tanggihan Tanggapin